Northrop Switchblade
| "Switchblade" | |
|---|---|
| Role | Concept jet fighter |
| Manufacturer | Northrop |
| First flight | Never flown |
| Primary user | United States Air Force |
| Number built | Never built |
|
| |
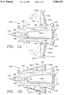
The Northrop "Switchblade" is a concept fighter jet which is a potential development of a utility patent filed by Grumman (U.S. Patent 5,984,231) in November 1999.
Design and development

The wings are attached to the fuselage (body) at a pivot point toward the rear of the aircraft. With the wings fully swept aft the aircraft can slow to drop precision weapons or land on short unimproved runways. Swept forward twenty degrees and the aircraft takes advantage of the maneuverability that forward-swept wings offer becoming a highly agile air combat platform. Swept fully forward the wings become flush with the aircraft with the trailing edge becoming the leading edge, forming a highly swept 75-degree stealthy delta ideal for high-speed Mach 3 exits. Or, as it is stated in the U.S. Patent 5,984231 abstract, "the aforementioned apparatus may be used in a method to configure the aircraft for flight in a desired flight regime".
| Geometry | Function |
|---|---|
| Wings fully extended | Long wingspan increases lift, enabling slower flight speeds for precision bombing and landing on short runways. |
| Wings swept forward | Forward sweep provides a good balance of lift and drag; efficient airflow over the wings and control surfaces enhances the fighter's maneuverability for air-to-air combat. |
| Wings fully swept | Low aspect ratio provides the least drag, enabling the aircraft to speed up to Mach 3. In this configuration the trailing edge becomes the leading edge, a section of the wing root becomes the new trailing edge. |
See also
References
External links
- Switchblade at Area51ZONE.com
- Switchblade at Air-Attack.com