Cox's timepiece

Cox's timepiece is a clock developed in the 1760s by James Cox. It was developed in collaboration with John Joseph Merlin (with whom Cox also worked on developing automata). Cox claimed that his design was a true perpetual motion machine, but as the device is powered from changes in atmospheric pressure via a mercury barometer, this is not the case. The clock still exists today but was deactivated at the time of the clock's relocation to the Victoria and Albert Museum in London.[1]
Design and history
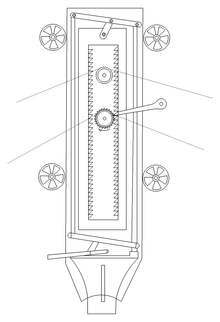
The clock is similar to other mechanical clocks, except that it does not need winding. The change of pressure in the Earth's atmosphere acts as an external energy source and causes sufficient movement of the winding mechanism. This keeps the mainspring coiled inside the barrel. The clock is designed to enable the timepiece to run indefinitely and overwinding is prevented by a safety mechanism. The prime mover, encased in a finely detailed clock body, is a Fortin mercury barometer. The barometer contained 68 kilograms (150 pounds) of mercury (approximately 5 litres).[2]
Related to this is Cornelis Drebbel's device of 1610 (though it is unknown whether Cox knew of it). It was a machine that told the time, date, and season. The gold machine was mounted in a globe on pillars and was powered by changes in air pressure (a sealed glass tub with liquid varied in volume through atmospheric pressure changes, rewinding constantly).
The Atmos, manufactured by Jaeger LeCoultre is a modern clock which is similar to Cox's clock although the main driving force is generated from temperature differential, instead of pressure differential.
See also
References
- ↑ Ord-Hume, Arthur W. J. G. (1977). Perpetual Motion: The History of an Obsession. New York: St. Martin's Press. ISBN 0-312-60131-X., p. 118 (online copy, p. 118, at Google Books)
- ↑ Bruton, Eric (1979). The History of Clocks and Watches. New York: Rizzoli International Publications. ISBN 0-8478-0261-2.
External articles and further reading
Journals
- William Nicholson, "Concerning those perpetual motions which are produced in machines by the rise and fall of the barometer or thermometrical variations in the dimensions of bodies". Philosophical Journal.
- William Nicholson, Philosophical Journal, vol I, 1799, p375
Books
- Arthur W. J. G. Ord-Hume: Perpetual Motion: The History of an Obsession. Adventures Unlimited Press 2006, ISBN 1-931882-51-7, pp. 110–124 (online copy, p. 110, at Google Books)
- Arthur W. J. G. Ord-hume, "Clockwork Music", Allen & Unwin, London 1973.
- John Joseph Merlin, "The Ingenious Mechanick". The Greater London Council, The Iveagh Bequest, Kenwood, Hampstead Lane, London, © 1985.
Radio
- John H. Lienhard (1991). "Cox's Perpetual-Motion Machine". The Engines of Our Ingenuity. Episode 527http://www.uh.edu/engines/epi527.htm
|transcripturl=missing title (help). NPR. KUHF-FM Houston. - John H. Lienhard (1991). "John Joseph Merlin". The Engines of Our Ingenuity. Episode 630http://www.uh.edu/engines/epi630.htm
|transcripturl=missing title (help). NPR. KUHF-FM Houston.