Air Motion Transformer
The Air Motion Transformer (AMT) is a type of electroacoustic transducer or loudspeaker, also called Air Velocity Transformer (AVT) or JET transducer. Invented by Dr. Oskar Heil, it operates on a different transduction principle than other loudspeaker designs, such as moving coil, planar magnetic or electrostatically driven loudspeakers, and should not be confused with planar or true ribbon loudspeakers. In contrast to a planar ribbon loudspeaker the diaphragm of the AMT is of pleated shape similar to a bellows. The AMT moves air in an augmented, semi-perpendicular motion using a folded sheet (made of polyethylene, polyester or polyimide), structured around a series of aluminum struts positioned in a high-intensity magnetic field.
How it works

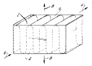
The diaphragm pushes back and forward from itself in a physical motion similar to that observed when an accordion is pushed in and pulled out to pump air though the reed chambers, albeit over an exceedingly smaller motion range. The result is a dipole driver with an extraordinarily rapid response rate, enabled by the extremely low mass of the polyester driver and the far smaller distance it travels on each “swing” compared to a dynamic driver. In this technical respect, it shares characteristics with the electrostatic driver.
The discernible motion of each diaphragm flexure is very small, but because of the folded structure, more air is moved than would be by a conventional cone or electrostatic driver of the same plotted surface area. As a matter of surface comparison, a standard 1-inch-wide (25 mm) AMT strip has a functional driver area comparable to an 8-inch-diameter (200 mm) circular dynamic cone. The folded driver design, combined with the small motion range, means the AMT acts like a point source version of a larger driver, inherently resulting in lower sound reproduction distortion. As a result of its motion pattern, the AMT "spits" the air out in a way similar to the action of shooting a watermelon seed from your hand by squeezing it between thumb and forefinger. The speed of the air as it leaves the diaphragm is approximately five times faster than the speed of the actual driver structure, hence the name, Air Motion Transformer.
Although it is possible to operate the diaphragm without the magnetic field, using piezoelectric technology, this method has been used only by TakeT for their headphone and tweeter products.[1]
Application/use
While suited very well for high frequencies, the AMT can reproduce sound down to 400 Hz and research is continuing to extend the range towards bass frequencies.[2] Consequently, the most common use for the AMT driver in consumer electronics today is as a midrange-tweeter or tweeter in high-end multi-driver speakers, sometimes paired with horns, or in the case of Precide's speaker products, with an upward-firing woofer driver.
In the tweeter market, the AMT competes against electrostatic, ribbon and electrodynamic tweeters. While apparently very good as a mid-tweeter or full tweeter, the AMT is not commonly employed in lower frequency speakers. This is due mainly to the AMT's characteristics of a dipole sound radiator, which makes enclosure in traditional speaker cabinets difficult without sacrificing sound quality or employing sound reflex baffles. Crossover points are design decisions (depending on the model ESS was using a cut-off frequency of 12 db at 800 Hz, 1 kHz, or in the case of the smaller air-motion transformer unit, 2.4 kHz).
Consumer products
The AMT was first used in 1972 by ESS (ElectroStatic Sound) a California company based in Sacramento. The first speaker was called the amt1. Looking like a truncated four sided pyramid, the system combined the AMT driver with a 10-inch woofer and bass port. There were several models that followed. The redesigning of the amt1, replaced the smaller woofer with a 12-inch woofer and passive radiator. This gave the speaker better lower bass response characteristics. The amt1 "Tower" was a speaker design with 1 AMT and a 10-inch woofer with a "transmission line labyrinth." The amt3, also called "Rock Monitor", was a design with 1 AMT, a 6.5-inch mid-range and two 10-inch woofers.
At the end of the 1970s, ESS and Dr. Heil introduced the ESS Transar using one high-frequency AMT and a unique array of special drivers as mid-bass accompaniment. Coupled with the Transar towers was a sub-woofer driven by a dedicated amplifier. It was possible to get ESS speakers from Sacramento until 2006. In Germany it was possible to get ESS speakers (new or classic designs) as well as the ESS AMT drivers until 2009 when they closed.
There are a several companies producing Heil AMTs:
GoldenEar (USA)
GoldenEar Technologies (USA) under the name High-Velocity
Folded Ribbon Tweeter
Dayton Audio (USA)
EmotivaPro (USA) under the name Airmotiv
MartinLogan (USA) under the name Folded Motion Tweeter[3]
Precide (Switzerland) who calls their version the AVT (Air Velocity Transformer). Precide uses an AMT driver for their top of the line headphones.
ELAC (Germany) who calls their version of the transducer JET
ADAM (Germany), under the name Accelerating Ribbon Technology[4]
ETON (Germany)
HEDD Audio (Germany)
Monkey Banana (Germany)
Beyma (Spain)
Furuyama Audio Labs – FAL (Japan)
SoundTouch (China)
The Tetra (Canada) 606 uses the Mundorf (Germany) Air Motion Transformer.
Heil's "Air Motion Transformer" US patents
- US#3,636,278 issued Jan 18, 1972.
- US#3,832,499 issued Aug. 2, 1974.
- US#4,056,697 issued Nov 1, 1977.
- Movable diaphragm connector method flexible hinge diaphragm surround and...
- US#4,039,044 issued Aug 2, 1977.
- (Low-frequency AMT. The patent also describes the principle used by Tymphany for their LAT transducer including the embodiment type)
- US#4,107,479 Aug 15, 1978.
- US#4,160,883 Jul 10, 1979.
See also
References
- ↑ Taket Technology, Taket
- ↑ Colloms, Martin (29 May 2013). High Performance Loudspeakers (6th ed.). John Wiley & Sons. p. 102.
- ↑ Folded Motion Tweeter, MartinLogan
- ↑ Accelerated Ribbon Technology, ADAM